绿巨人视频官网,绿巨人成人官网,绿巨人污APP,绿巨人视频官网在线观看

當前位置:網站首頁 > 新聞資訊 > 公司動態

绿巨人视频官网模壓工藝

作者:永嘉亞特防腐閥門有限公司  來源:http://www.liheextract.com  更新時間:2016-03-16 18:12:27  點擊次數:

绿巨人视频官网模壓工藝

模壓是氟塑料襯裏跌蝶閥最常用的一種方法,適合於多品種小批量的生產方式。它是將一定量的氟塑料(粉狀、粒狀、纖維狀、片狀和碎屑狀等)放入成型的模腔中,然後閉合,放在加熱爐內加熱到一定溫度,取出來,放在壓力機中在壓力作用下熔融流動,緩慢充滿整個型腔而取得型腔所賦予的形狀。隨著在模具內塑化、混合和分散,熔體逐漸失去流動性變成不熔的體型結構而成為固體,並不斷用冷水冷卻,冷卻到一定溫度打開模具,而成為成品,從而完成模壓過程。氟塑料襯裏層的質量主要取決於氟塑料原料質量、襯裏模壓工藝和模具的設計。
氟塑料襯裏閥門成型質量包括襯塑層的內在質量和外在質量。內在質量包括襯塑層的物理和化學性質及其均勻性;它不僅要求氟塑料具有相應的物理和化學性能。在模壓過程中,還要注意塑化的溫度和壓力,正確掌握模壓工藝。外在質量包括襯塑層的尺寸、外觀和色澤等。襯塑層的外表麵質量主要取決於模具的設計和氟塑料在模具內的塑化、混合和分散的能力。塑化效果與模具結構以及工藝配方、原料質量和加工工藝條件的控製有直接的關係。
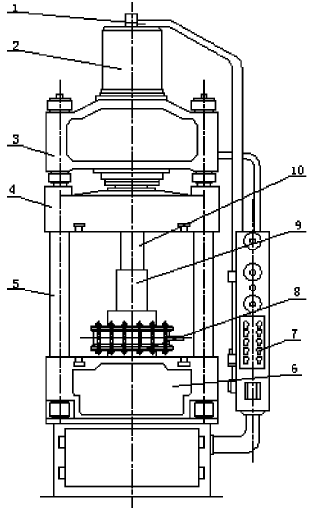
油壓機與閥體模壓示意圖
1.主柱 2.活動橫梁 3.上橫梁 4.油缸 5.油管 6.壓頭 7.模具與料筒 8.閥體 9.操縱箱 10.下橫梁
塑料塑化成型對溫度和壓力的要求非常嚴格,掌握氟塑料的塑化時間非常重要。塑化時間太短,氟塑料未成型就已分解交聯;若塑化時間太長,則生產效率低,需要很長時間才能固化脫模,生產周期長。在生產中,控製塑化時間的關鍵因素就是溫度和壓力。若不能控製好塑化溫度和壓力,則很可能產生諸如襯裏層表麵硬度低、表麵光亮度不足;襯塑尺寸控製困難;熔接痕難以消除;襯塑層沿氟塑料流動方向有“魚鱗”樣凸凹不平的有規則的波紋,或表麵箭頭狀波紋等問題。值得一提的是在加壓過程中放氣次數、放氣時間、間隔時間都對襯塑層的外觀質量有直接影響,在生產中應嚴格控製,並做好生產記錄。工藝人員可以在生產前對氟塑料擬訂其塑化曲線,掌握其塑化時間,然後在實踐中根據實際情況進行工藝調整。因每種產品的公稱尺寸、公稱壓力不同,氟塑料配方、原材料質量、要求各異,其溫度、壓力,放氣等工藝控製也不盡相同,根據具體情況決定,從而製訂出符合本企業的模壓工藝。
氟塑料襯裏蝶閥在設計製造工藝上與常規蝶閥相比,有相同的地方,也有不同的地方,本文力求全麵介紹氟塑料襯裏蝶閥的設計要點、製造方法、工藝特點,幫助讀者了解绿巨人视频官网。
氟塑料襯裏蝶閥的出現,是科學技術進步的產物,是對常規蝶閥產品的創新,不僅節約了大量的稀有金屬,合理的利用了資源,而且還節能、環保。滿足了石油化工工業對特殊閥門的需求,經濟效益和社會效益特別顯著。值得推廣應用。
 绿巨人视频官网模壓工藝
绿巨人视频官网,绿巨人成人官网,永嘉绿巨人视频官网在线观看生產廠家永嘉亞特防腐閥門有限公司專業生產绿巨人视频官网,绿巨人成人官网,绿巨人视频官网謁誠為您提供優質的產品與服務。
永嘉亞特防腐閥門有限公司
聯係人:吳經理
電話:0577-67161009
手機:13858881433 18966252897
傳真:0577-67160009
Q  Q:936610452
郵箱:wzszsbz@163.com
網址:http://www.liheextract.com
銷售地址:溫州甌北鎮肖橋頭沿河路11號
公司地址:永嘉縣甌北鎮東甌工業區和一村
本文鏈接:http://www.liheextract.com//news/news369.html
上一篇:脫鹽水介質使用襯膠蝶閥壽命縮短原因
下一篇:绿巨人视频官网氟塑料襯裏層的質量要求

相關文章

绿巨人视频官网在线观看屬於什麽閥門-2020-05-20
绿巨人视频官网在线观看的作用-2020-05-07
绿巨人成人官网都適合什麽樣的環境-2016-04-22
绿巨人成人官网主要檢查內容-2016-04-22
绿巨人成人官网的優點-2016-04-22
防腐绿巨人视频官网在线观看應用的注意事項-2016-04-22
绿巨人成人官网的密封麵如何研磨?-2015-06-11
簡析氟塑料襯裏蝶閥的基本知識-2021-06-28
绿巨人视频官网在线观看襯裏材料,绿巨人视频官网在线观看襯F4與F46區別說明-2016-04-28
绿巨人视频官网及連接方式的分類-2016-04-07
永嘉绿巨人污APP閥業有限公司鄭重聲明-2019-09-12
绿巨人成人官网用途和使用-2016-04-27
绿巨人成人官网的密封麵如何堆焊?-2016-04-27
绿巨人成人官网的優勢-2016-04-27
绿巨人视频官网安裝使用和注意事項(上)-2016-04-27
關於绿巨人视频官网

公司簡介

聯係绿巨人视频官网

網 址:http://www.liheextract.com郵 箱:wzszsbz@163.com
公司地址:永嘉縣甌北鎮東甌工業區和一村
© 2019 浙江绿巨人污APP閥業有限公司 版權所有 浙ICP備77188126號
網站地圖